High-Tensile Strength
Wire Rope & Chain Slings

Chains
Soft Eye Wire Rope Sling
  • Soft eye wire rope slings are available in a wide range of sizes, typically from 6 mm up to 64 mm diameter, to suit various lifting and rigging applications. Darwish Ali Hassan Marine (DAH Marine) manufactures wire rope slings as per client specifications, offering custom lengths, configurations, and load ratings to meet specific operational requirements.

  • While they display a vertical lift capacity, single leg wire rope slings are often used in pairs or a multi-leg arrangement to prevent the load from rotating during a lift. They are versatile options for various lifting configurations, including vertical lifts, basket hitches, and choker hitches, and are widely used in construction, manufacturing, shipping, and mining operations.
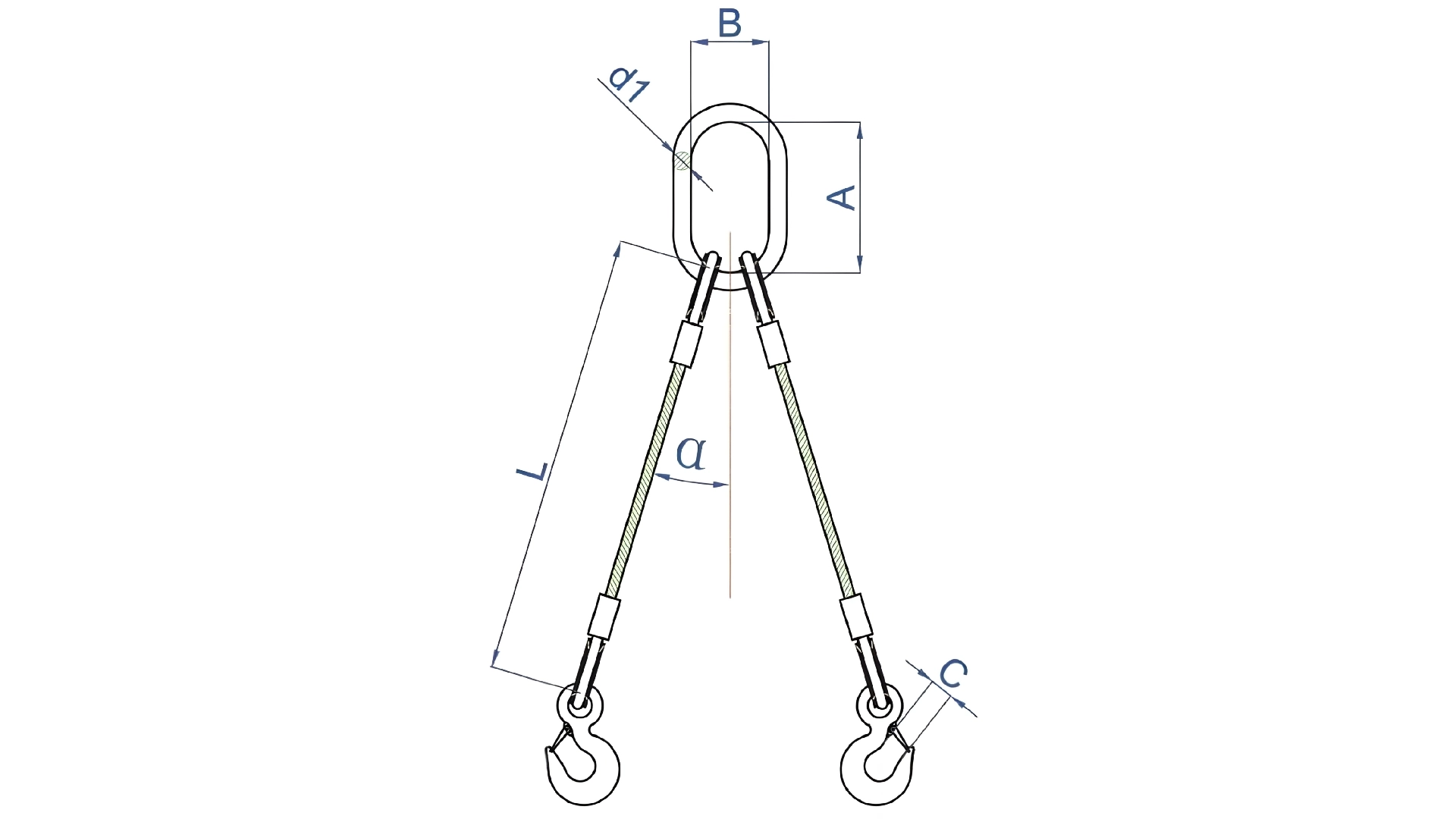
2 Legs Wire Rope Sling
  • Two-leg wire rope slings are available in a wide range of sizes, typically from 6 mm up to 64 mm diameter, making them suitable for various lifting capacities and applications. Darwish Ali Hassan Marine (DAH Marine) manufactures two-leg wire rope slings to order, customized to client requirements in terms of rope diameter, leg length, end fittings, and working load limits, ensuring compliance with demanding marine, offshore, and industrial lifting operations.

  • These slings are commonly used for lifting heavy, unbalanced, or irregularly shaped loads, such as machinery, fabricated components, and beams in construction and manufacturing industries. Each leg is equipped with robust end fittings, such as hooks or thimbles, which securely attach to the item being lifted. The master link at the top provides a central, secure connection point to a crane hook or other lifting device, ensuring efficient and safe multi-point rigging operations.
4 Legs Wire Rope Sling
  • Four-leg wire rope slings are available in sizes typically ranging from 6 mm up to 64 mm diameter, covering a broad spectrum of lifting capacities. Darwish Ali Hassan Marine (DAH Marine) manufactures four-leg wire rope slings as per customer order, with customization options including rope diameter, leg length, end fittings, sling angles, and working load limits, ensuring suitability for marine, offshore, construction, and industrial lifting applications.

  • These slings are specifically designed for lifting large, heavy, and often structurally complex loads where multiple attachment points are necessary to distribute the weight safely and maintain balance. They are essential in industries such as heavy construction, offshore operations, and large-scale manufacturing for moving items like large concrete structures, industrial vessels, or machinery bases. Each leg is typically fitted with end terminals, such as clevis hooks or safety hooks, to ensure secure coupling with the load's lifting points.
Single Leg Chain Sling
  • Single leg chain slings are available in various sizes, typically ranging from 8 mm to 20 mm, to accommodate different lifting capacities. Darwish Ali Hassan Marine (DAH Marine) manufactures single leg chain slings to order, customized to client specifications. We supply and manufacture for clients in Dubai, across the United Arab Emirates, and throughout the wider MENA region, supporting marine, offshore, construction, and industrial lifting requirements.

  • These slings feature a master link or an oblong link at the top for connection to a crane or hoist, and a hook (such as a sling hook or a self-locking hook) at the other end to attach to the load. Made from high-grade materials like Grade 80, chain slings offer exceptional durability, high strength, and resistance to abrasion and high temperatures. Unlike wire rope slings, chain slings do not rotate under load, making them ideal for single-leg applications in construction, manufacturing, and general material handling.
2 Legs Chain Sling
  • Two-leg chain slings are available in a range of sizes, generally from 8 mm to 20 mm, to suit various lifting capacities and sling angles. Darwish Ali Hassan Marine (DAH Marine) manufactures two-leg chain slings as per customer order, tailored to specific requirements such as chain size, leg length, end fittings, and working load limits. We serve clients in Dubai, across the United Arab Emirates, and throughout the wider MENA region, supporting demanding marine, offshore, construction, and industrial lifting operations.

  • Commonly used in heavy industries such as construction, offshore rigging, and manufacturing, two-leg chain slings are highly durable and resistant to heat, cutting, and abrasion. They offer the advantage of securely gripping unbalanced or irregularly shaped loads without rotation. This design efficiently distributes the load weight across both legs, making them a reliable solution for complex lifting operations.
4 Legs Chain Sling
  • Four-leg chain slings are available in sizes generally ranging from 8 mm to 20 mm, covering a wide range of lifting capacities and sling angle configurations. Darwish Ali Hassan Marine (DAH Marine) manufactures four-leg chain slings to customer order, customized in terms of chain size, leg length, end fittings, and working load limits. We supply and support clients in Dubai, throughout the United Arab Emirates, and across the wider MENA region, serving marine, offshore, construction, and industrial lifting applications.

  • This configuration is essential for lifting very large, heavy, or irregularly shaped loads that require maximum stability and precise load distribution across multiple points. Four-leg slings are highly durable, resistant to heat and cuts, and widely used in heavy industries like steel manufacturing, offshore rigging, and civil construction for moving massive components securely.